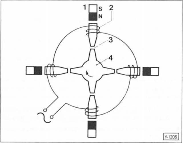
Der induktivgeber besteht aus einem dauermagneten, einer magnetspule und einem mit der verteilerwelle verbundenen Verteileranker. Über den induktivgeber wird das tsz-schaltgerät angesteuert und der aus- und einschaltpunkt des zündspulenstromes festgelegt. Dadurch bestimmt der induktivgeber auch den zündzeitpunkt.

Da sich der verteileranker - 4 - mit der verteilerwelle dreht, ändert sich ständig der abstand - 3 - zwischen verteileranker und den statorpolen. Dadurch wird in die magnetspule - 2 - eine wechselspannung induziert. Entsprechend den spannungsänderungen löst das schaltgerät zusammen mit der zündspule den zündfunken aus. Die zündung erfolgt immer dann, wenn sich die pole des verteilerankers gerade wieder von den statorpolen entfernen. Zusätzlich in der abbildung dargestellte teile sind: - 1 - dauermagnet, - s - südpol und - n - nordpol des dauermagneten.
Sicherungen auswechseln
Um kurzschluß- und uberiastungsschaden an den leitungen
und verbrauchern der elektrischen anlage zu verhindern, sind die
einzelnen stromkreise mit sicherungen geschützt.
Im opel-corsa werden sicherungen verwendet, die neuesten
technischen erkenntnissen ...
Radbremszylinder aus- und einbauen
Falls der radbremszylinder nicht erneuert werden soll, kann er
auch in eingebautem zustand zerlegt werden. Dann müssen
allerdings vorher die bremsbacken ausgebaut werden. Radbremszylinder
sind spätestens immer dann instandzusetzen,
wenn bremsflüssigke ...